兩起固晶機專利案判決:新益昌勝訴獲賠超800萬
近日,廣東省深圳市中級人民法院發布了兩則民事判決書,就新益昌與萬福達的專利訴訟案達成了判決:萬福達立即停止侵害新益昌兩項專利的行為,即停止制造、銷售、許諾銷售侵權產品,銷毀庫存侵權產品,并賠償累計超800萬元的經濟損失。
據悉,該訴訟涉及的專利為“芯片自動修正式固晶機(專利號:ZL202011295835.6)”,以及“一種LED固晶機的自動上晶環機構(專利號:ZL201821050605.1)”。
■ 專利1:芯片自動修正式固晶機
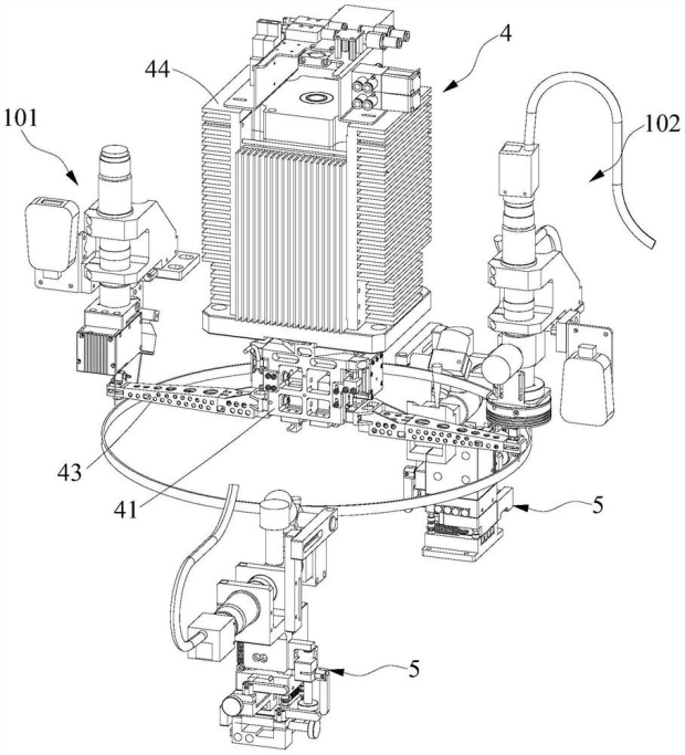
據了解,新益昌關于“芯片自動修正式固晶機”的發明專利,提供了一種芯片自動修正式固晶機,包括機架,以及分別安裝于機架上的進料機構、夾具機構、供晶機構、旋轉擺臂機構、攝像機構、固晶攝像鏡頭和取晶攝像鏡頭。

旋轉擺臂機構包括旋轉座、吸嘴、支撐吸嘴的支撐臂、用于驅動支撐臂水平轉動以使吸嘴往復經過固晶位與供晶位的旋轉驅動器和用于驅動吸嘴轉動以糾正芯片位置的調節單元。
該發明專利通過在固晶位與供晶位之間設置攝像機構,當旋轉驅動器帶動支撐臂和吸嘴往復經過固晶位與供晶位時,攝像機構可獲取吸嘴上的芯片的位置信息。如果吸嘴吸取的芯片發生位置偏移,攝像機構拍攝到芯片不在正確位置上,此時調節單元驅動吸嘴轉動,進而可將芯片的位置進行糾正,從而可提高固晶機的固晶精度。
當前,隨著led顯示屏逐漸往微縮化方向發展,產業也在呼喚更高固晶精度的設備。
據了解,4×8mil以下的LED芯片,要確保更高良率,則需要使用帶有“芯片自動修正式固晶機”。而新益昌為固晶機龍頭企業,也是Mini LED領域的先進企業,迄今為止,合作客戶包括了SAMSUNG、京東方、鴻利顯示、康佳、創維、TCL、艾比森、利亞德、洲明、天馬、兆馳、雷曼等知名廠商。
■ 專利2:一種LED固晶機的自動上晶環機構
此外,另一專利案則涉及了實用新型專利,據了解,是一種LED固晶機的自動上晶環機構,包括晶環料盒升降組件,晶環料盒升降組件一側設置有晶環搬運組件,其前方設置有晶環旋轉組件。

▲新益昌HAD8606 系列
晶環料盒升降組件上端設置一晶環料盒,其下部設置有驅動晶環料盒升降的電機組件;晶環搬運組件設置于晶環料盒升降組件的一側,晶環搬運組件上設置的夾爪組件通過一傳送絲桿做左右移動;晶環旋轉組件設置于晶環搬運組件的鄰側,其上設置有放置晶環的旋轉晶框、安裝旋轉晶框的晶框旋轉基座以及驅動晶框旋轉基座移動的X平臺和Y平臺。
通過電機組件驅動存儲不同類型晶環的料盒上下運動到指定位置,夾爪組件進行左右移動夾取并搬運晶環至指定位置放置,從而實現不同類型晶環的自動上料、自動回收。
在技術快速演進的當下,知識產權是保護新技術創新發展的主要動力,其可幫助企業、創新者和創造者釋放有形價值。而專利法律保護更是一種重要的知識產權保護方式,旨在鼓勵創新者進行技術研發投入并獲得創新產出,這一點也獲得了全球各國的共識。
在此次案件中,對于新益昌而言,首先是維護了公司的知產權利,減少了公司的經濟損失,更重要的是通過法律層面的努力,盡可能地為國內創新領域打造公平有序競爭的良好環境。
客服
