國內專利Micro LED芯片最新進度報告
近期,顯示之家通過企查查了解到,芯元基、鐳昱光電、中國科學院長春光學精密機械與物理研究所、武漢大學等單位均發布了Micro LED相關專利,及最 新進展。
鐳昱光電:Microled微顯示芯片及其制造方法
9月8日,鐳昱光電科技(蘇州)有限公司公布了“MicroLED微顯示芯片及其制造方法”的發明專利,目前處于授權階段。
本申請公開了MicroLED微顯示芯片及其制造方法,MicroLED微顯示芯片包括驅動基板、多個LED單元,每一LED單元被單獨驅動;臺階結構至少使相鄰LED單元的第二摻雜型半導體層彼此斷開且電隔離。
第 一鈍化層覆蓋LED單元,暴露對應的第 一觸點,第二開孔暴露對應的LED單元的第二摻雜型半導體層;彼此斷開且電隔離的金屬反射罩,覆蓋第 一鈍化層,金屬反射罩與對應的LED單元的第二摻雜型半導體層電性連接,金屬反射罩通過第 一開孔與對應的第 一觸點電性連接。
本申請通過金屬反射罩來調整LED發光角度,降低像素間光學串擾;金屬反射罩連接到第 一觸點和第二摻雜型半導體層,能夠降低LED像素電阻,減小了整體功耗。
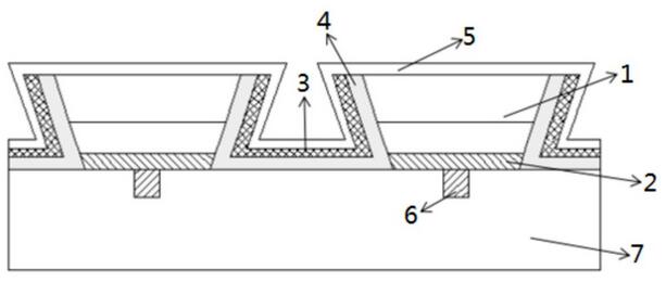
中國科學院長春某研究所:一種高光效MicroLED芯片
9月15日,中國科學院長春光學精密機械與物理研究所發布了“一種高光效MicroLED芯片”,目前處于“申請公布”階段。
本發明涉及一種高光效Micro LED芯片,屬于Micro LED芯片技術領域。解決了現有技術中Micro LED芯片的出光效率低,且散熱效果有待進一步提升的技術問題。本發明的Micro LED芯片,包括PN結、第二電極、第 一電極、介質層和透明電極;
其中,PN結為N個,且均為倒梯形結構,固定在驅動電路基板的上表面上,且每個PN結通過一個第二電極與一個驅動電路基板的電極連接;第 一電極為共電極,通過透明電極與N個PN結均連接,介質層將第 一電極和第二電極隔離。
該Micro LED芯片,通過倒梯形的電極反射,一方面調控了LED的出光角度,增加了LED的出光效率;另一方面增加了第 一電極的面積,有效提高電流的擴展能力,提高了器件的散熱效果。

武漢大學:一種MicroLED芯片及其制造方法
8月22日,武漢大學公布了“一種MicroLED芯片及其制造方法”,該專利目前處于授權階段。
本發明屬于顯示技術領域,公開了一種MicroLED芯片及其制造方法。
本發明提供的MicroLED芯片的芯片形狀為三角形,芯片結構為薄膜倒裝結構,且包括圖形化雙層金屬電極,相比于常規芯片結構具有更高的比表面積,且n型電極的分布得到優化,能夠有效減少n型電極附近的電流聚集效應、降低n型半導體層的有效電阻,能夠明顯改善芯片的熱量累積效應。

芯元基:一種Micro LED顯示器件和Micro LED芯片
9月8日,上海芯元基半導體科技有限公司公布“一種MicroLED顯示器件和MicroLED芯片”發明專利,該專利進入授權階段。
本實用新型提供了一種MicroLED顯示器件和MicroLED芯片。
其中,MicroLED顯示器件包括MicroLED芯片和CMOS驅動芯片,MicroLED芯片包括依次堆疊的第 一絕緣層、第 一ITO膜層以及所述MicroLED芯片與CMOS驅動芯片鍵合后分割出的若干像素點,第 一絕緣層中分布多個P電極金屬柱,CMOS驅動芯片包括若干正電極金屬層,每一正電極金屬層分別與若干的P電極金屬柱電連接,以使MicroLED芯片與CMOS驅動芯片鍵合;
若干像素點間隔設置在第 一ITO膜層上,正電極金屬層與像素點一一對應設置。MicroLED芯片在與CMOS驅動芯片做像素對準鍵合工藝時,在像素點分割出來之前,先通過多個P電極金屬柱與CMOS驅動芯片進行無差別的粗對準鍵合,因此,對準精度要求可以降低至200μm,大大降低了像素對準鍵合工藝的制作難度。

客服
