通過企查查了解到,兆馳半導體、乾照光電、東旭科技集團、芯樂光等多家企業均有Mini LED相關專利取得新進展。tun全球led顯示屏排行榜_[顯示之家]

INSPIREtun全球led顯示屏排行榜_[顯示之家]

THE BESTtun全球led顯示屏排行榜_[顯示之家]

01tun全球led顯示屏排行榜_[顯示之家]

芯樂光:Mini-LED固晶裝置及固晶方法tun全球led顯示屏排行榜_[顯示之家]

7月28日,芯樂光“Mini-LED固晶裝置及固晶方法”的發明專利進入申請公布階段。tun全球led顯示屏排行榜_[顯示之家]

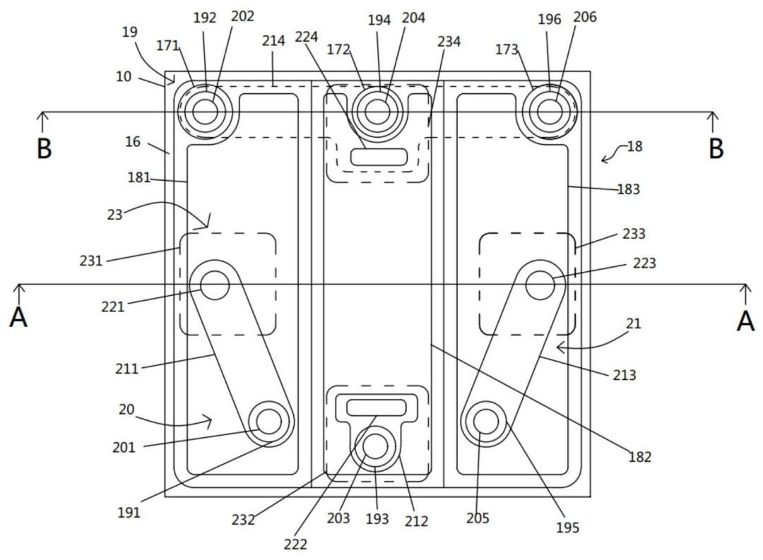
本發明公開了Mini?LED固晶裝置及固晶方法,涉及固晶設備領域,包括固晶臺,基板換料機構、晶圓上料機構、晶圓載具、電機以及基板載具。tun全球led顯示屏排行榜_[顯示之家]

本發明在對晶片進行取出或者鍵合時,載物臺保持在基板或者晶圓上方固定位置,此時轉動臺在電機的帶動下繼續轉動,使限位套筒在滑動桿外側滑動,對限位套筒內的限位彈簧以及氣體進行擠壓,氣體穿過排氣單向閥、氣管、進氣口以及環管分布到各組噴氣口內,噴氣口均勻分布在吸嘴外側,使得氣流均勻的噴向基板或者晶圓外側。tun全球led顯示屏排行榜_[顯示之家]

INSPIREtun全球led顯示屏排行榜_[顯示之家]

THE BESTtun全球led顯示屏排行榜_[顯示之家]

02tun全球led顯示屏排行榜_[顯示之家]

兆馳半導體:一種全彩mini LED芯片及制備方法tun全球led顯示屏排行榜_[顯示之家]

7月18日,兆馳半導體“一種全彩mini LED芯片及制備方法”的發明專利進入授權公告階段,該發明可大幅提升全彩Mini LED芯片制備顯示屏的轉移效率。tun全球led顯示屏排行榜_[顯示之家]

 tun全球led顯示屏排行榜_[顯示之家]

兆馳半導體、乾照等公布Mini LED專利最新進展

本發明提供一種全彩Mini LED芯片及制備方法,所述全彩Mini LED芯片包括襯底依次沉積在所述襯底上的藍光外延層、綠光外延層、紅光外延層、電流擴展層、電極層、布拉格反射層、連接層、填平層及焊盤層。tun全球led顯示屏排行榜_[顯示之家]

 tun全球led顯示屏排行榜_[顯示之家]

兆馳半導體、乾照等公布Mini LED專利最新進展

其中,所述藍光外延層、所述綠光外延層及所述紅光外延層的尺寸依次減小三分之一,以使所述藍光外延層、所述綠光外延層及所述紅光外延層呈階梯式排布;通過所述藍光外延層、所述綠光外延層及所述紅光外延層依次沉積在襯底之上和三者的尺寸依次減小三分之一的設置,來制成做成全彩Mini LED芯片,使得制備COB顯示屏時紅綠藍三色只需要轉移一次,大幅提升了全彩mini LED芯片制備顯示屏的轉移效率。tun全球led顯示屏排行榜_[顯示之家]

INSPIREtun全球led顯示屏排行榜_[顯示之家]

THE BESTtun全球led顯示屏排行榜_[顯示之家]

03tun全球led顯示屏排行榜_[顯示之家]

乾照光電:基于空氣橋接的高壓Mini-LED芯片及制備方法tun全球led顯示屏排行榜_[顯示之家]

6月27日,乾照光電“基于空氣橋接的高壓Mini-LED芯片及制備方法”的發明專利進入申請公布階段,該發明可制作出高可靠性、高亮低壓的高壓Mini LED芯片。tun全球led顯示屏排行榜_[顯示之家]

本發明提供了一種基于空氣橋接的高壓Mini LED芯片及制備方法,可以使得高壓串聯晶胞的電極無需走DE刻蝕的隔離溝道,因此隔離溝道的側壁與底面之間的夾角可以小于或等于90度,增加了芯片的有效發光面積,對晶胞數越多的芯片增加的面積越明顯。tun全球led顯示屏排行榜_[顯示之家]

 tun全球led顯示屏排行榜_[顯示之家]

兆馳半導體、乾照等公布Mini LED專利最新進展

空氣橋接不存在wafer邊緣由于膠容易碳化導致刻蝕的角度比較陡,容易導致電極在沉積的過程中會造成隔離溝道垂直壁上覆蓋的電極厚度不均勻以及在老化的時候容易斷裂的風險,導致芯片的可靠性變差;其次空氣橋接的電極長度要小于常規電極的長度,可以有效的減小電極的串聯電阻降低芯片電壓。tun全球led顯示屏排行榜_[顯示之家]

插播:加入LED顯示行業交流群,請加VX:hangjia188tun全球led顯示屏排行榜_[顯示之家]

 tun全球led顯示屏排行榜_[顯示之家]

INSPIREtun全球led顯示屏排行榜_[顯示之家]

THE BESTtun全球led顯示屏排行榜_[顯示之家]

04tun全球led顯示屏排行榜_[顯示之家]

東旭科技集團:COB Mini-LED直顯的封裝方法tun全球led顯示屏排行榜_[顯示之家]

6月23日,河北光興半導體技術有限公司及東旭科技集團有限公司 “COB Mini-LED直顯的封裝方法”的發明專利進入授權公告階段,該發明可解決顆粒感、花屏以及偏色等問題,提高了顯示效果。tun全球led顯示屏排行榜_[顯示之家]

 tun全球led顯示屏排行榜_[顯示之家]

兆馳半導體、乾照等公布Mini LED專利最新進展

本申請提供一種COB Mini?LED直顯的封裝方法。本申請涉及封裝技術領域。其中,COB Mini?LED直顯的封裝方法,包括:在印刷電路板上的每個像素點旁設置圍壩;將多個LED芯片分別固定到每個像素點中的燈面焊盤上;將每個像素點中的多個LED芯片通過凸透鏡封裝件進行封裝,凸透鏡封裝件包括位于下端的圓柱體封裝部分和位于上端的半球體封裝部分;去除圍壩。tun全球led顯示屏排行榜_[顯示之家]

 tun全球led顯示屏排行榜_[顯示之家]

兆馳半導體、乾照等公布Mini LED專利最新進展

本文圖源企查查tun全球led顯示屏排行榜_[顯示之家]

ENDtun全球led顯示屏排行榜_[顯示之家]

 tun全球led顯示屏排行榜_[顯示之家]