Mini LED玻璃基專利掌握在哪家公司?
“一種帶雙組件結構的量子點玻璃基背光模組” 的發明專利進入申請公布階段。
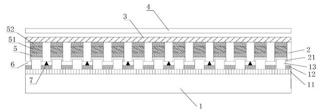
本實用新型屬于背光模組的技術領域,具體涉及一種帶雙組件結構的量子點玻璃基背光模組,這種帶雙組件結構的量子點玻璃基背光模組包括:
第 一玻璃基板、設于第 一玻璃基板上的導電線路層和反射層,所述反射層設置于導電線路層上,所述反射層內凸起有若干Miniled燈珠;
所述miniled燈珠上設置有第二玻璃基板,所述第二玻璃基板開設有供所述miniled燈珠嵌入的孔洞,所述第二玻璃基板遠離所述miniled燈珠一側設置有擴散涂層,所述擴散涂層遠離所述第二玻璃基板的一側間隔設置有光學膜。
這種帶雙組件結構的量子點玻璃基背光模組具有保障了玻璃擴散板制作及組裝時的對位公差,也進一步降低了擴散板與燈板的混光距離,還起到了節約量子點材料成本的效果。

一種miniled玻璃基導電線路板與LED燈珠高頻感應焊接設備
同時,亞瑪頓還公布了“一種miniled玻璃基導電線路板與LED燈珠高頻感應焊接設備”專利,本實用新型屬于玻璃的技術領域,具體涉及一種miniled玻璃基導電線路板與LED燈珠高頻感應焊接設備,這種miniled玻璃基導電線路板與LED燈珠高頻感應焊接設備包括:
工作臺,所述工作臺上設置有第 一玻璃傳送裝置和第二玻璃傳送裝置,所述第 一玻璃傳送裝置和第二玻璃傳送裝置之間設置有高頻焊接機構;
所述高頻焊接機構包括高頻電流引出器和電性連接所述高頻電流引出器的感應線圈,玻璃基導電線路板穿過所述感應線圈;
所述感應線圈處設置有感應組件,以感應玻璃基導電線路板是否穿過所述感應線圈。
這種miniled玻璃基導電線路板與LED燈珠高頻感應焊接設備具有能通過高頻感應焊接對miniled進行焊接,提升焊接效率的效果。

弗萊吉:一種Mini-LED玻璃基線路板
昆山弗萊吉電子科技有限公司在12月8日公布了“一種Mini-LED玻璃基線路板”進入授權階段。
本實用新型涉及線路板領域,具體公開了一種MiniLED玻璃基線路板,包括線路板,線路板的上表面開設有安裝孔,安裝孔的內部安裝有安裝機構。
安裝機構包括:上定位機構、下定位機構,上定位機構的下表面安裝有錐形擠壓頭,錐形擠壓頭的下表面安裝有內螺栓,下定位機構的上端設置有錐形套筒,錐形套筒的外側開設有膨脹通孔,下定位機構的下端安裝有底部螺栓。
內螺栓整體和底部螺栓內部的內螺紋槽進行嚙合轉動連接,在當錐形擠壓頭整體進入到錐形套筒的內部后,則錐形擠壓頭整體會將錐形套筒在膨脹通孔的作用下撐開,在上定位機構的下表面的壓合作用下將整個線路板進行定位,防止螺栓安裝后會擠壓玻璃基材質的線路板導致破碎的情況發生。

客服
